充填料浆智能即时制备充填系统与方法
首页 企业 产品 技术 资讯 图库 视频 需求 会议 活动 产业
充填料浆智能即时制备充填系统与方法
来源:中南大学
访问:379
简介: 本发明涉及矿山填充技术领域,特别涉及一种充填料浆智能即时制备充填系统与方法,系统包括絮凝剂制备添加装置、尾矿仓、深锥浓密机、溢流水池、原料仓、原料混合仓、动态选粉机、胶固粉仓、搅拌机、充填工业泵、充填管道,同时还包括数字孪生平台,具体包括智能浓密模块、级配‑细度优化模块以及智能即时制备模块。本发明能够制备高质量充填料浆后加压输送至采场,实现充填料浆的即时制备、配比动态优化及充填过程精准调控,有效避免了胶结材料质量不足以及储存性能衰退等,提升了充填稳定性和资源利用率,兼具了智能化与环保性。
权利要求

1.一种充填料浆智能即时制备充填系统,其特征在于,包括絮凝剂制备添加装置、尾矿仓、深锥浓密机、溢流水池、原料仓、原料混合仓、动态选粉机、胶固粉仓、搅拌机、充填工业泵、充填管道,同时还包括数字孪生平台;

所述絮凝剂制备添加装置、所述尾矿仓、所述深锥浓密机、所述溢流水池组成的部分用于浓密并分离尾矿浆以及水;

所述原料仓、所述原料混合仓、所述动态选粉机、所述胶固粉仓组成的部分用于制备胶固粉;

所述搅拌机用于将尾矿浆、水以及胶固粉充分混合形成充填料浆,所述充填工业泵用于将充填料浆加压,通过所述充填管道输送至对应的采场进行充填;

所述数字孪生平台包括智能浓密模块、级配-细度优化模块以及智能即时制备模块,所述智能浓密模块用于智能化控制所述尾矿浆浓密后的浓度以及水的浊度,所述级配-细度优化模块用于智能化控制胶固粉的参数,所述智能即时制备模块用于实时控制尾矿浆、胶固粉以及水投入所述搅拌机的比例,同时所述智能浓密模块、所述级配-细度优化模块以及所述智能即时制备模块共享数据并协同控制。

2.根据权利要求1所述的一种充填料浆智能即时制备充填系统,其特征在于,所述絮凝剂制备添加组件的出料口与所述深锥浓密机的进料口连接,所述絮凝剂制备添加装置连接矿方清水输送口,所述深锥浓密机的进料口同时与所述尾矿仓的出料口连接,所述深锥浓密机的出料口与搅拌机连接,所述深锥浓密机的顶部与所述溢流水池的进料口连接。

3.根据权利要求2所述的一种充填料浆智能即时制备充填系统,其特征在于,所述深锥浓密机的底部通过底流循环管路与所述深锥浓密机的进料口连接,所述底流循环管路设置有电动阀门、循环泵和浓度计,所述深锥浓密机的侧壁上沿高度方向等间距设置有多个分层检测管,各个所述分层检测管设置有电动阀门和浓度计,且各个所述分层检测管均连接所述底流循环管路,所述深锥浓密机的顶部与所述溢流水池之间还设置有浊度计,所述电动阀门、所述浓度计、所述浊度计均与所述智能浓密模块电性连接,所述絮凝剂制备添加装置、所述尾矿仓的出料口的控制阀均与所述智能浓密模块电性连接。

4.根据权利要求1所述的一种充填料浆智能即时制备充填系统,其特征在于,所述原料仓为矿渣仓或粉煤灰仓或渣仓或渣仓或熟料仓或氟石膏仓或返石返灰仓的一种或几种组合,所述原料仓中对应的原料从所述原料混合仓的进料口进入并混合,所述原料混合仓的出料口与所述动态选粉机连接,所述动态选粉机与所述胶固粉仓的入料口连接,所述动态选粉机用于将胶固粉进行研磨,使胶固粉达到预设的细度;所述充填料浆智能即时制备充填系统还设置有激光粒度分析仪,所述原料混合仓的出料口、所述深锥浓密机的出料口分别与对应的所述激光粒度分析仪连接,所述激光粒度分析仪、所述动态选粉机均与所述级配-细度优化模块电性连接。

5.根据权利要求1所述的一种充填料浆智能即时制备充填系统,其特征在于,所述胶固粉仓的出料口与所述搅拌机连接,所述胶固粉仓的出料口位置还设置有微粉秤,所述微粉秤用于称量预设重量的胶固粉。

6.根据权利要求1所述的一种充填料浆智能即时制备充填系统,其特征在于,采场的顶板上还设置有激光雷达,采场的底板上还设置有三维应力传感器,所述激光雷达、所述三维应力传感器均与所述智能即时制备模块电性连接,所述智能即时制备模块与所述絮凝剂制备添加装置、所述尾矿仓、所述深锥浓密机、所述溢流水池、所述原料仓的出料口的控制阀电性连接。

7.一种充填料浆智能即时制备充填方法,应用于如权利要求1-6任意一项所述的一种充填料浆智能即时制备充填系统,其特征在于,包括如下步骤:

S1,对尾矿浆进行浓密处理,将溢流水收集用于后续制备充填料浆;

S2,制备胶固粉;

S3,制备充填料浆,将充填料浆成品输送至采场中待充填区域进行充填作业。

8.根据权利要求7所述一种充填料浆智能即时制备充填方法,其特征在于,S1具体包括如下子步骤:

S11,尾矿仓中的尾矿浆输送至深锥浓密机进行浓缩,矿方清水进入絮凝剂制备添加装置,絮凝剂制备添加装置将絮凝剂输送至深锥浓密机;

S12,尾矿浆在深锥浓密机经过沉降、浓缩、脱水处理,同时澄清后的水从深锥浓密机顶部溢流至溢流水池,浓密后的尾矿浆底流浓度不达标时重新输送至深锥浓密机顶部进行循环浓缩,浓度达标后尾矿浆底流从深锥浓密机的底部输送至搅拌机。

9.根据权利要求7所述一种充填料浆智能即时制备充填方法,其特征在于,S2具体包括如下子步骤:

S21,按预设的配比,从各个原料输送原料至原料混合仓,在原料仓中充分混合形成胶固粉;

S22,通过激光粒度分析仪获取骨料级配曲线,并将数据反馈至级配-细度优化模块;

S23,将胶固粉运输至动态选粉机;

S24:级配-细度优化模块计算骨料间隙率,根据骨料间隙率控制动态选粉机调节胶固粉研磨细度,再输送至胶固粉仓;

S25,根据所需的胶固粉量,通过微粉秤称取对应量的胶固粉,将胶固粉输送至搅拌机。

10.根据权利要求7所述一种充填料浆智能即时制备充填方法,其特征在于,S3具体包括如下子步骤:

S31,采集采场点云数据并发送给数字孪生平台,根据所接收的信号确定出待充填区域高度,并计算出充填率和待充填容积,得到所需充填量;

S32,智能即时制备模块依据确定的充填物的种类及各种类的配比比例控制投入搅拌机制备充填料浆;

S33,通过搅拌机对加入其中的各类充填物进行充分搅拌,制备形成充填料浆成品,再输送至充填工业泵的进料口,利用充填工业泵对充填料浆成品进行加压,通过充填管道将充填料浆成品输送至采场中待充填区域进行充填作业。

说明书

技术领域

[0001]本实用新型涉及采矿工程领域,尤其涉及一种采矿工程矿山地质勘探钻机。

背景技术

[0002]在采矿工程领域,准确的矿山地质勘探对于矿产资源的有效开发和利用至关重要,为了获取地下矿体的详细信息,如矿层的位置、厚度、品位变化以及地质构造特征等,需要进行的钻孔作业,而在钻孔作业中,则需要使用到钻机。

[0003]在现有技术中,具有以下缺陷;传统的矿山地质勘探钻机在钻孔作业时,往往难以对钻杆的偏移进行有效控制,由于缺乏专门的精密导向和稳定结构,钻杆在钻进过程中容易受到地层不均质性、钻头受力不均等因素影响,导致钻孔方向出现偏差,这种偏差不仅会降低岩芯的采取率和质量,还可能使勘探结果产生误差,影响对矿山地质情况的准确判断,进而增加勘探成本和时间,为此提出一种采矿工程矿山地质勘探钻机来解决上述问题。

实用新型内容

[0004]为了弥补以上不足,本实用新型提供了一种采矿工程矿山地质勘探钻机,旨在改善现有技术中传统钻杆容易出现偏差的问题。

[0005]为了实现上述目的,本实用新型采用了如下技术方案:一种采矿工程矿山地质勘探钻机,包括底架,所述底架的顶端固定连接有驱动箱,所述驱动箱的右端通过电动滑轨设置有活动架,所述活动架的顶端设置有电机,所述电机的输出端可拆卸安装有钻杆,所述底架的顶端固定连接有环套,所述环套的内壁转动连接有转盘,所述转盘的内壁设置有限位机构,所述转盘的内壁贯穿且滑动连接有接触板,所述接触板的左端镶嵌有滚珠,所述底架的内壁设置有调节组件;

[0006]所述限位机构包括有卡块,所述卡块滑动连接在转盘的内壁上,所述卡块设置有两组,两组所述卡块之间通过复位弹簧弹性连接,所述卡块的中部滑动连接有导向杆。

[0007]作为上述技术方案的进一步描述:

[0008]所述调节组件包括有电动伸缩杆,所述电动伸缩杆设置在底架的内壁上,所述电动伸缩杆的活动端固定连接有连接盘,所述底架的外壁设置有水平仪。

[0009]作为上述技术方案的进一步描述:

[0010]所述连接盘接触在底架的内壁上。

[0011]作为上述技术方案的进一步描述:

[0012]所述导向杆固定连接在转盘的内壁上。

[0013]作为上述技术方案的进一步描述:

[0014]所述卡块卡接在环套的内壁上。

[0015]作为上述技术方案的进一步描述:

[0016]所述接触板贯穿且滑动连接在环套的内壁上。

[0017]作为上述技术方案的进一步描述:

[0018]所述滚珠的外壁与钻杆的外壁相接触。

[0019]作为上述技术方案的进一步描述:

[0020]所述转盘的内壁开设有弧槽。

[0021]本实用新型具有如下有益效果:

[0022]1、本实用新型中,通过卡块、转盘、接触板及滚珠等结构的协同运作,在钻孔时能有效抵紧钻杆,确保钻杆不偏移,极大提高了钻孔的精度与稳定性,保障勘探数据的准确性。

[0023]2、本实用新型中,通过借助水平仪监测与电动伸缩杆电控调节,可轻松实现底座的水平校正,能适应不同地形,保证整个装置在打孔时无高低偏差,提升了设备对复杂矿山环境的适应性与工作可靠性。

附图说明

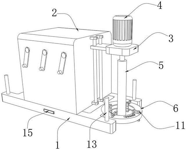
[0024]图1为本实用新型提出的一种采矿工程矿山地质勘探钻机的底架整体立体示意图;

[0025]图2为本实用新型提出的一种采矿工程矿山地质勘探钻机的环套和转盘整体立体示意图;

[0026]图3为本实用新型提出的一种采矿工程矿山地质勘探钻机的环套和转盘分解示意图;

[0027]图4为本实用新型提出的一种采矿工程矿山地质勘探钻机的转盘和卡块分解示意图;

[0028]图5为本实用新型提出的一种采矿工程矿山地质勘探钻机的底架整体剖视示意图。

[0029]图例说明:

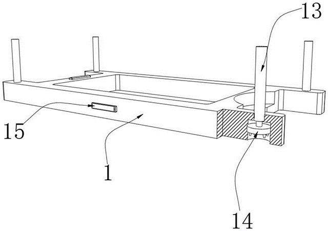
[0030]1、底架;2、驱动箱;3、活动架;4、电机;5、钻杆;6、环套;7、转盘;8、卡块;9、复位弹簧;10、导向杆;11、接触板;12、滚珠;13、电动伸缩杆;14、连接盘;15、水平仪。

具体实施方式

[0031]下面将结合本实用新型实施例中的附图,对本实用新型实施例中的技术方案进行清楚、完整地描述,显然,所描述的实施例仅仅是本实用新型一部分实施例,而不是全部的实施例。基于本实用新型中的实施例,本领域普通技术人员在没有做出创造性劳动前提下所获得的所有其他实施例,都属于本实用新型保护的范围。

[0032]参照图1-图3,本实用新型提供的一种实施例:一种采矿工程矿山地质勘探钻机,包括底架1,底架1的顶端固定连接有驱动箱2,驱动箱2的右端有电动滑轨,可以通过驱动箱2驱动活动架3带着电机4钻杆5向下移动钻孔处理,驱动箱2的右端通过电动滑轨设置有活动架3,活动架3的顶端设置有电机4,电机4可以通过外接电控的方式带着钻杆5旋转钻孔,电机4的输出端可拆卸安装有钻杆5,钻杆5的杆体是主要的承载部分,通常由高强度合金钢制成,如优质碳素钢或合金结构钢,可以通过钻杆5带着钻头深入地下,底架1的顶端固定连接有环套6,环套6的内壁转动连接有转盘7,转盘7上开设有弧槽,可以通过弧槽挤压接触板11产生移动,转盘7的内壁设置有限位机构,转盘7的内壁贯穿且滑动连接有接触板11,接触板11的右端呈圆柱状,可以沿着转盘7的弧槽滑动,左端呈圆板状主要连接滚珠12让滚珠12与钻杆5接触,接触板11的左端镶嵌有滚珠12,滚珠12为氮化硅材料制作,具有高硬度、高强度和较低的摩擦系数,其与钻杆5接触时能够承受较高的压力而不易变形,同时保证较低的摩擦力,底架1的内壁设置有调节组件。

[0033]限位机构包括有卡块8,卡块8滑动连接在转盘7的内壁上,转盘7上开设有卡块8相对应的槽口,可以满足卡块8沿着槽口滑动,卡块8设置有两组,两组卡块8之间通过复位弹簧9弹性连接,一端复位弹簧9与左端卡块8固定,另一端复位弹簧9与右端卡块8固定,卡块8相互靠拢时,会对复位弹簧9压缩,复位时,利用复位弹簧9的反向弹力带着卡块8复位,卡块8的中部滑动连接有导向杆10,导向杆10可以增加卡块8摩擦力,保证卡块8在限位时不会轻易移动,且需要人工手动操作。

[0034]参照图1与图5,调节组件包括有电动伸缩杆13,电动伸缩杆13设置在底架1的内壁上,电动伸缩杆13通过现有电动设备驱动,此处为现有技术不做过多赘述,电动伸缩杆13的活动端固定连接有连接盘14,连接盘14的底端有凸起部分,可以通过凸起部分插入地面增加装置的稳定,底架1的外壁设置有水平仪15,水平仪15有两组如图5所示,一组水平仪15设置在底架1的外壁可以判断底架1横向是否有倾斜,另一组水平仪15设置在底架1的顶端,可以观察底架1的纵向是否有倾斜,连接盘14接触在底架1的内壁上,底架1上开设有连接盘14相对的槽口,不使用时,可以如图5所示收纳。

[0035]参照图2-图4,导向杆10固定连接在转盘7的内壁上,卡块8卡接在环套6的内壁上,环套6上开设有卡块8相对应的开口,可以满足卡块8与其插接对整个转盘7限位,接触板11贯穿且滑动连接在环套6的内壁上,环套6上开设有接触板11的槽口,可以满足接触板11沿着环套6的内壁滑动,滚珠12的外壁与钻杆5的外壁相接触,转盘7的内壁开设有弧槽。

[0036]工作原理:首先需要钻孔时,只需让按压卡块8让其相互靠拢并对复位弹簧9压缩,让卡块8和环套6上的槽口分离,随后手部移动卡块8带着转盘7沿着环套6的内壁逆时针转动,让转盘7的弧槽挤压接触板11向钻杆5处靠拢,让滚珠12与钻杆5接触并抵紧,随后松开卡块8利用复位弹簧9的弹力带着卡块8复位,让卡块8卡在环套6上的槽口内,此时可以启动驱动箱2和电机4,让活动架3带着活动架3、电机4与钻杆5向下钻孔处理,利用接触板11与滚珠12与钻杆5接触,保证钻孔过程中,钻杆5不会产生偏移的情况,打孔结束后,按照上述操作步骤让卡块8顺时针转动转盘7让转盘7弧槽挤压接触板11让接触板11与滚珠12远离钻杆5即可。

[0037]打孔前,需要保证整个装置打孔位置不会有高低偏差时,可以通过观察纵向或横向的水平仪15,通过电控的方式让电动伸缩杆13带着连接盘14向下移动,让连接盘14配合电动伸缩杆13将底架1的一端顶起,可以根据实际情况调整。

[0038]最后应说明的是:以上所述仅为本实用新型的优选实施例而已,并不用于限制本实用新型,尽管参照前述实施例对本实用新型进行了详细的说明,对于本领域的技术人员来说,其依然可以对前述各实施例所记载的技术方案进行修改,或者对其中部分技术特征进行等同替换,凡在本实用新型的精神和原则之内,所作的任何修改、等同替换、改进等,均应包含在本实用新型的保护范围之内。

说明书附图(5)

0
0
0
0
0
         
标签:矿山充填系统,充填料浆
广州铭谦选矿设备有限公司宣传
广州铭谦选矿设备有限公司宣传
相关技术
评论(0条)
200/200
牛津仪器科技(上海)有限公司宣传
发布
技术

顶部
中冶有色网-互联网服务平台-关于我们
Copyright 2025 China-mcc.com All Rights Reserved
备案号:京ICP备11044340号-3
电信业务经营许可证编号:京B2-20242293
京公网安备 11010702002294号