掘进机支护装置
首页 企业 产品 技术 资讯 图库 视频 需求 会议 活动 产业
掘进机支护装置
来源:山西周士重工有限公司
访问:193
简介: 本实用新型涉及矿山机械设备技术领域,公开了一种掘进机支护装置,包括第一防护板,所述第一防护板内插接设有第二防护板,所述第一防护板内两侧均设有第一伸缩杆,所述第一伸缩杆的伸缩端和所述第二防护板的一侧固定连接,所述第一防护板的底端四角均设有第一液压支腿,所述第二防护板的底端四角均设有第二液压支腿。
权利要求

1.一种掘进机支护装置,包括第一防护板(1),其特征在于:

所述第一防护板(1)内插接设有第二防护板(2),所述第一防护板(1)内两侧均设有第一伸缩杆(3),所述第一伸缩杆(3)的伸缩端和所述第二防护板(2)的一侧固定连接,所述第一防护板(1)的底端四角均设有第一液压支腿(4),所述第二防护板(2)的底端四角均设有第二液压支腿(5);

所述第一防护板(1)的一侧设有倾斜布置且可收纳的超前支护板(8),所述超前支护板(8)内插接设有可伸缩的延伸板(9),所述第一防护板(1)的底端一侧两端均铰接设有第二伸缩杆(10),所述第二伸缩杆(10)的伸缩端和所述超前支护板(8)铰接。

2.根据权利要求1所述的一种掘进机支护装置,其特征在于:所述第一防护板(1)的底端两侧均设有滑动槽(6),一侧所述第二液压支腿(5)分别穿过所述滑动槽(6)且和所述滑动槽(6)之间为滑动连接。

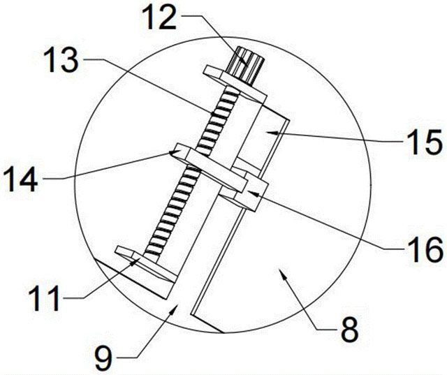
3.根据权利要求1所述的一种掘进机支护装置,其特征在于:所述超前支护板(8)的底端设有成对布置的固定板(11),一侧所述固定板(11)上设有电机(12),所述固定板(11)之间设有转动连接且由所述电机(12)驱动的螺杆(13),所述螺杆(13)上设有螺纹连接的移动块(14),所述超前支护板(8)的底端设有通槽(15),所述延伸板(9)的底端设有穿过所述通槽(15),并延伸至外部的滑块(16),所述滑块(16)的一侧和所述移动块(14)固定连接。
4.根据权利要求1所述的一种掘进机支护装置,其特征在于:所述第一液压支腿(4)和第二液压支腿(5)的底端均设有加固块(7)。

说明书

技术领域

[0001]本实用新型涉及矿山机械设备技术领域,具体是指一种掘进机支护装置。

背景技术

[0002]掘进机在进行破碎地层的掘进作业时,常常会遇到地层破碎、松散、不稳定等问题。这些问题容易导致掘进机周围的地层变形,甚至造成掘进机卡住、堵塞或垮塌等情况,为了增加地层的稳定性,有效减少地层变形和垮塌的风险,经常使用支护设备保障掘进机能够安全、稳定的前进。

[0003]传统的掘进机支护装置多是通过螺栓等直接安装在掘进机的前端,掘进机在掘进过程中,其截割头会不断向前推进,而支护装置只能覆盖掘进机前方的有限区域。当掘进深度增加时,支护装置可能无法及时覆盖新暴露的顶板区域,导致顶板暴露时间过长,增加了顶板掉矸伤人的风险。

实用新型内容

[0004]一、解决的技术问题

[0005]本实用新型要解决的技术问题是传统的支护装置多是直接固定在掘进机截割头的上方,防护区域有限,随着掘进深度的增加,不便于对顶板区域进行支护,存在顶板掉矸伤人的风险。

[0006]二、技术方案

[0007]为解决上述技术问题,本实用新型提供的技术方案为:一种掘进机支护装置,包括第一防护板,所述第一防护板内插接设有第二防护板,所述第一防护板内两侧均设有第一伸缩杆,所述第一伸缩杆的伸缩端和所述第二防护板的一侧固定连接,所述第一防护板的底端四角均设有第一液压支腿,所述第二防护板的底端四角均设有第二液压支腿,所述第一防护板的一侧设有倾斜布置且可收纳的超前支护板,所述超前支护板内插接设有可伸缩的延伸板,所述第一防护板的底端一侧两端均铰接设有第二伸缩杆,所述第二伸缩杆的伸缩端和所述超前支护板铰接。

[0008]作为改进,所述第一防护板的底端两侧均设有滑动槽,一侧所述第二液压支腿分别穿过所述滑动槽且和所述滑动槽之间为滑动连接。

[0009]作为改进,所述超前支护板的底端设有成对布置的固定板,一侧所述固定板上设有电机,所述固定板之间设有转动连接且由所述电机驱动的螺杆,所述螺杆上设有螺纹连接的移动块,所述超前支护板的底端设有通槽,所述延伸板的底端设有穿过所述通槽,并延伸至外部的滑块,所述滑块的一侧和所述移动块固定连接。

[0010]作为改进,所述第一液压支腿和第二液压支腿的底端均设有加固块。

[0011]三、有益效果

[0012]本实用新型与现有技术相比的优点在于:

[0013]1、通过第一防护板、第二防护板、第一伸缩杆、第一液压支腿、第二液压支腿和滑动槽,和掘进机不相连,罩在掘进机的外部,具有自移行走功能,可以对掘进机进行有效防护,便于对顶板区域进行支护,支护面积大,大大提高支护作业的安全性,而且支护面积大,可灵活调节。

[0014]2、通过超前支护板、延伸板、第二伸缩杆、固定板、电机、螺杆、移动块、通槽和滑块,实现超前支护,为预防冒顶、片帮事故提供了防护基础,使其能够更好地适应掘进机的作业需求。

附图说明

[0015]图1是本实用新型一种掘进机支护装置的立体示意图一。

[0016]图2是本实用新型一种掘进机支护装置的立体示意图二。

[0017]图3是本实用新型一种掘进机支护装置的剖视结构示意图。

[0018]图4是本实用新型一种掘进机支护装置的图2的A部分细节放大图。

[0019]图5是本实用新型一种掘进机支护装置的图2的B部分细节放大图。

[0020]如图所示:1、第一防护板;2、第二防护板;3、第一伸缩杆;4、第一液压支腿;5、第二液压支腿;6、滑动槽;7、加固块;8、超前支护板;9、延伸板;10、第二伸缩杆;11、固定板;12、电机;13、螺杆;14、移动块;15、通槽;16、滑块。

具体实施方式

[0021]下面将结合本实用新型实施例中的附图,对本实用新型实施例中的技术方案进行清楚、完整地描述,显然,所描述的实施例仅仅是本实用新型一部分实施例,而不是全部的实施例;基于本实用新型中的实施例,本领域普通技术人员在没有做出创造性劳动前提下所获得的所有其他实施例,都属于本实用新型保护的范围。

[0022]实施例一

[0023]结合附图1、附图2和附图3,一种掘进机支护装置,包括第一防护板1,所述第一防护板1内插接设有第二防护板2,所述第一防护板1内两侧均设有第一伸缩杆3,所述第一伸缩杆3的伸缩端和所述第二防护板2的一侧固定连接,所述第一防护板1的底端四角均设有第一液压支腿4,所述第二防护板2的底端四角均设有第二液压支腿5。

[0024]通过上述结构,第一防护板1和第二防护板2可以对掘进机进行有效防护,便于对顶板区域进行支护,支护面积大,随着第一液压支腿4的收缩,第一伸缩杆3的伸长带动第一防护板1前移至合适的位置,第一液压支腿4伸长至地面,再将第二液压支腿5收缩,随着第一伸缩杆3收缩,带动第二防护板2前移,实现自移行走功能。

[0025]结合附图4,所述第一防护板1的底端两侧均设有滑动槽6,一侧所述第二液压支腿5分别穿过所述滑动槽6且和所述滑动槽6之间为滑动连接。

[0026]通过上述结构,第二液压支腿5在滑动槽6内移动,方便实现第二防护板2的伸缩,结构简单,容易实现。

[0027]结合附图1,所述第一液压支腿4和第二液压支腿5的底端均设有加固块7。

[0028]通过上述结构,第一液压支腿4和第二液压支腿5底端的加固块7可以增加第一液压支腿4、第二液压支腿5和地面的接触面积,整体稳定性高。

[0029]实施例二

[0030]结合附图2,所述第一防护板1的一侧设有倾斜布置且可收纳的超前支护板8,所述超前支护板8内插接设有可伸缩的延伸板9,所述第一防护板1的底端一侧两端均铰接设有第二伸缩杆10,所述第二伸缩杆10的伸缩端和所述超前支护板8铰接。

[0031]通过上述结构,随着第二伸缩杆10的缩短或是伸长,可以实现对超前支护板8进行展开或是收纳,而且超前支护板8可以调节至任意角度位置,实现超前支护。

[0032]结合附图5,所述超前支护板8的底端设有成对布置的固定板11,一侧所述固定板11上设有电机12,所述固定板11之间设有转动连接且由所述电机12驱动的螺杆13,所述螺杆13上设有螺纹连接的移动块14,所述超前支护板8的底端设有通槽15,所述延伸板9的底端设有穿过所述通槽15,并延伸至外部的滑块16,所述滑块16的一侧和所述移动块14固定连接。

[0033]通过上述结构,电机12带动螺杆13不停转动,位于螺杆13上的移动块14在通槽15和滑块16的限位下,可以带动延伸板9外伸或是收缩进入超前支护板8内,结构简单,方便调节,为预防冒顶、片帮事故提供了防护基础,使其能够更好地适应掘进机的作业需求。

[0034]本实用新型在具体实施时:

[0035]整体支护装置树立在矿下,掘进机割煤后,第一液压支腿4的收缩,四角的第二液压支腿5站立在地面上,第一伸缩杆3的伸长带动第一防护板1前移至合适的位置,第一液压支腿4伸长至地面,再将第二液压支腿5收缩,随着第一伸缩杆3收缩,带动第二防护板2前移,实现支护装置前移,自移行走。

[0036]整体和掘进机不相连,罩在掘进机的外部,具有自移行走功能,可以对掘进机进行有效防护,便于对顶板区域进行支护,支护面积大,大大提高支护作业的安全性,而且支护面积大,可灵活调节。

[0037]然后,启动电机12,电机12带动螺杆13不停转动,位于螺杆13上的移动块14在通槽15和滑块16的限位下,可以带动延伸板9外伸或是收缩进入超前支护板8内,结构简单,方便调节,实现超前支护,为预防冒顶、片帮事故提供了防护基础,使其能够更好地适应掘进机的作业需求。

[0038]需要说明的是,在本文中,诸如第一和第二等之类的关系术语仅仅用来将一个实体或者操作与另一个实体或操作区分开来,而不一定要求或者暗示这些实体或操作之间存在任何这种实际的关系或者顺序。而且,术语“包括”、“包含”或者其任何其他变体意在涵盖非排他性的包含,从而使得包括一系列要素的过程、方法、物品或者设备不仅包括那些要素,而且还包括没有明确列出的其他要素,或者是还包括为这种过程、方法、物品或者设备所固有的要素。

[0039]尽管已经示出和描述了本实用新型的实施例,对于本领域的普通技术人员而言,可以理解在不脱离本实用新型的原理和精神的情况下可以对这些实施例进行多种变化、修改、替换和变型,本实用新型的范围由所附权利要求及其等同物限定。

[0040]以上对本实用新型及其实施方式进行了描述,这种描述没有限制性,附图中所示的也只是本实用新型的实施方式之一,实际的结构并不局限于此。总而言之如果本领域的普通技术人员受其启示,在不脱离本实用新型创造宗旨的情况下,不经创造性的设计出与该技术方案相似的结构方式及实施例,均应属于本实用新型的保护范围。

说明书附图(5)

0
0
0
0
0
         
标签:掘进机支护装置,掘进机
广州铭谦选矿设备有限公司宣传
广州铭谦选矿设备有限公司宣传
相关技术
评论(0条)
200/200
牛津仪器科技(上海)有限公司宣传
发布
技术

顶部
中冶有色网-互联网服务平台-关于我们
Copyright 2025 China-mcc.com All Rights Reserved
备案号:京ICP备11044340号-3
电信业务经营许可证编号:京B2-20242293
京公网安备 11010702002294号