基于褐煤气化工艺的灰渣处理装置
首页 企业 产品 技术 资讯 图库 视频 需求 会议 活动 产业
基于褐煤气化工艺的灰渣处理装置
来源:山东能源集团煤气化新材料科技有限公司, 枣庄学院
访问:409
简介: 本发明提供了一种基于红土镍矿冶炼尾渣填埋的土壤修复方法,包括:首先,对待填埋土壤区域进行加固处理,以在待填埋土壤区域的底部铺设基层;其次,在基层上设置填埋层,填埋层包括红土镍矿湿法尾渣、红土镍矿火法尾渣以及腐殖土;再次,在填埋层上设置排水层,排水层与待填埋土壤区域四周的排水沟相连;再次,在排水层上铺设一层绿化土层,绿化土层的土壤利于植被生长;最后,在绿化土层上栽种绿化植物,以完成土壤修复。
权利要求

1.一种基于褐煤气化工艺的灰渣处理装置,其特征在于:

包括框座(1),所述框座(1)上方设有收纳筒(2),所述收纳筒(2)内还设有搅拌部件(3),所述收纳筒(2)两侧还设有两个进料框一(4),一所述进料框一(4)上方还设有碾压调节部件(5),所述收纳筒(2)上方连接有进液管(6);
所述框座(1)底部设有排液管(7),所述排液管(7)和所述收纳筒(2)相连通,所述排液管(7)上设有电磁阀(8),所述排液管(7)内设有滤网,所述框座(1)底部还设有固定相接的卸料阀(9)与卸料板(10);所述框座(1)上还设有开关(11),所述卸料阀(9)和所述电磁阀(8)均与所述开关(11)电连接;

所述碾压调节部件(5)包括固定相接的固定框(51)和进料框二(512),所述固定框(51)下端与一所述进料框一(4)固定相接,所述固定框(51)内转动连接有转动轴一(53),所述转动轴一(53)由电机二(514)驱动,所述转动轴一(53)外设有固定碾轮(513);所述转动轴一(53)还传动连接有转动轴三(525),所述转动轴三(525)外设有调节碾轮(527),所述调节碾轮(527)上设有可调节所述固定碾轮(513)与所述调节碾轮(527)之间间距的间距调节部件(52);所述电机二(514)固设于所述收纳筒(2)上方,所述电机二(514)与所述开关(11)电连接;

所述间距调节部件(52)包括与所述固定框(51)转动连接的丝杆(521),所述丝杆(521)外端连接有转轮,所述丝杆(521)上还螺纹连接N形推动板(522),所述N形推动板(522)的两侧板均固设有两块N形滑动板(523),其与所述固定框(51)滑动相接;两所述N形滑动板(523)之间固设有移动板(524),两所述移动板(524)均与所述转动轴三(525)转动连接。

2.根据权利要求1所述的一种基于褐煤气化工艺的灰渣处理装置,其特征在于:所述搅拌部件(3)包括N形固定板(31),所述N形固定板(31)固定设在收纳筒(2)的上方,所述N形固定板(31)下方设有电机一(32),所述电机一(32)的输出轴连接有转杆(33),所述转杆(33)位于所述收纳筒(2)内,所述转杆(33)的下端侧面固定连接有四块搅拌板(34),所述电机一(32)与所述开关(11)电连接。

3.根据权利要求1所述的一种基于褐煤气化工艺的灰渣处理装置,其特征在于:所述转动轴一(53)的一端外侧套设有皮带轮一(54),所述皮带轮一(54)通过传动带与皮带轮二(55)传动连接,所述皮带轮二(55)固定连接在转动轴二(56)上,所述转动轴二(56)与齿轮一(57)固定连接,所述齿轮一(57)还啮合连接有齿轮二(526),所述转动轴三(525)与所述齿轮二(526)固定连接。

4.根据权利要求3所述的一种基于褐煤气化工艺的灰渣处理装置,其特征在于:

所述转动轴二(56)通过轴承与转动板(58)转动连接,所述转动板(58)与转动套(59)固定连接,所述转动套(59)通过轴承与转动轴一(53)转动连接,所述转动套(59)与拉动板(510)固定连接,所述拉动板(510)与弹簧(511)的后侧固定连接,所述弹簧(511)的前侧与所述固定框(51)固定连接。

说明书

技术领域

[0001]本实用新型涉及煤气化加工技术领域,特别涉及一种基于褐煤气化工艺的灰渣处理装置。

背景技术

[0002]煤气化灰渣在固体废物中占据重要比例,对灰渣进行合理利用,不仅可以消除灰渣的危害,还可节约大量物质资源,变废为宝。通常,煤气化灰渣在处理后主要用于制备水泥和混凝土、制砖、吸附以及根据重金属的含量进行重金属的分离利用。

[0003]目前常见的煤气化灰渣的处理装置在使用时,不具备针对灰渣粉碎颗粒大小的调节功能,从而使用范围受限。

实用新型内容

[0004]本实用新型提供了一种基于褐煤气化工艺的灰渣处理装置,以解决上述背景技术中提出的问题。

[0005]为实现上述目的,本实用新型提供如下技术方案:

[0006]一种基于褐煤气化工艺的灰渣处理装置,包括框座,所述框座上方设有收纳筒,所述收纳筒内还设有搅拌部件,所述收纳筒两侧还设有两个进料框一,一所述进料框一上方还设有碾压调节部件,所述收纳筒上方连接有进液管;

[0007]所述框座底部设有排液管,所述排液管和所述收纳筒相连通,所述排液管上设有电磁阀,所述排液管内设有滤网,所述框座底部还设有固定相接的卸料阀与卸料板;所述框座上还设有开关,所述卸料阀和所述电磁阀均与所述开关电连接。

[0008]优选地,所述搅拌部件包括N形固定板,所述N形固定板固定设在收纳筒的上方,所述N形固定板下方设有电机一,所述电机一的输出轴连接有转杆,所述转杆位于所述收纳筒内,所述转杆的下端侧面固定连接有四块搅拌板,所述电机一与所述开关电连接。

[0009]优选地,所述碾压调节部件包括固定相接的固定框和进料框二,所述固定框下端与一所述进料框一固定相接,所述固定框内转动连接有转动轴一,所述转动轴一由电机二驱动,所述转动轴一外设有固定碾轮;所述转动轴一还传动连接有转动轴三,所述转动轴三外设有调节碾轮,所述调节碾轮上设有可调节所述固定碾轮与所述调节碾轮之间间距的间距调节部件;所述电机二固设于所述收纳筒上方,所述电机二与所述开关电连接。

[0010]优选地,所述间距调节部件包括与所述固定框转动连接的丝杆,所述丝杆外端连接有转轮,所述丝杆上还螺纹连接N形推动板,所述N形推动板的两侧板均固设有两块N形滑动板,其与所述固定框滑动相接;两所述N形滑动板之间固设有移动板,两所述移动板均与所述转动轴三转动连接。

[0011]优选地,所述转动轴一的一端外侧套设有皮带轮一,所述皮带轮一通过传动带与皮带轮二传动连接,所述皮带轮二固定连接在转动轴二上,所述转动轴二与齿轮一固定连接,所述齿轮一还啮合连接有齿轮二,所述转动轴三与所述齿轮二固定连接。

[0012]优选地,所述转动轴二通过轴承与转动板转动连接,所述转动板与转动套固定连接,所述转动套通过轴承与转动轴一转动连接,所述转动套与拉动板固定连接,所述拉动板与弹簧的后侧固定连接,所述弹簧的前侧与所述固定框固定连接。

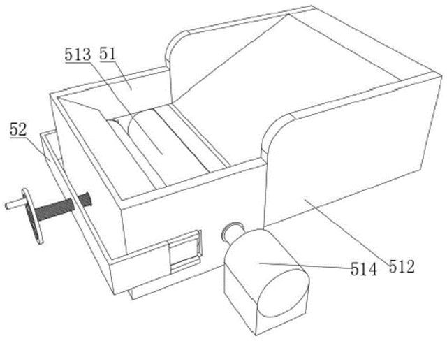
[0013]本实用新型所提供的基于褐煤气化工艺的灰渣处理装置在使用时,先通过开关将碾压调节部件启动,然后固定碾轮和调节碾轮同步向中心处转动,将需要处理的灰渣倒在进料框二内,使灰渣经过进料框二移动至固定碾轮和调节碾轮之间,然后经过转动挤压,从而对灰渣进行挤压粉碎的效果。由于调节碾轮上设有可调节固定碾轮与调节碾轮之间间距的间距调节部件,所以固定碾轮和调节碾轮之间的间距可调,可以满足不同的灰渣处理需求。

[0014]具体地,使用前通过转轮带动丝杆转动,使丝杆带动N形推动板上的N形滑动板顺着滑动孔沿水平方向进行移动,N形滑动板再带动移动板上的转动轴三上的调节碾轮移动,进而与固定碾轮之间的空隙扩大或缩小,直至调至到合适间距。

[0015]然后将电机二启动,电机二带动转动轴一转动,转动轴一再带动皮带轮一和固定碾轮同步转动,而皮带轮一则通过传动带带动皮带轮二上的转动轴二转动,从而使转动轴二带动齿轮一进而带动齿轮二转动,使齿轮二带动转动轴三上的调节碾轮转动,因此固定碾轮和调节碾轮同步转动。

[0016]经碾压调节部件挤压过的灰渣掉落到进料框一内滚落至收纳筒内,然后从另一个进料框一加入制备水泥的其它掺合料与粉碎的灰渣进行混合,然后通过开关开启电机一转动,使电机一带动转杆上的搅拌板进行转动,从而使搅拌板对灰渣和掺合料进行搅拌。

[0017]同时弹簧推动拉动板带动转动套上的转动板同步进行转动,使转动板带动转动轴二上的齿轮一随着转动轴三上的齿轮二紧贴着移动,从而使齿轮二移动过程中齿轮一也同步带动齿轮二转动,齿轮二则通过带动转动轴三上的调节碾轮转动,如此可调节碾轮转动对灰渣进行挤压粉碎,随着调节碾轮与固定碾轮之间的空隙扩大,从而使灰渣粉碎后的颗粒较大,从而可满足不同粉碎需求。

[0018]上述装置中还设有进液管和排液管,可使收纳筒内粉碎的灰渣需要提取重金属时,可通过进液管加入化学试剂并进行搅拌反应,然后反应后的溶液通过排液管排出,而滤渣则经过卸料阀排出或者根据工艺需求再添加其它化学试剂进行搅拌反应,如此可使该装置不仅能够调节灰渣碾压的颗粒大小,还可进行灰渣重金属提取。

附图说明

[0019]为了更清楚地说明本申请的技术方案,下面将对实施例中所需要使用的附图作简单地介绍,显而易见地,对于本领域普通技术人员而言,在不付出创造性劳动的前提下,还可以根据这些附图获得其他的附图。

[0020]图1为本实用新型一种具体实施例中灰渣处理装置的正视结构示意图;

[0021]图2为图1中搅拌部件的结构示意图;

[0022]图3为图1中碾压调节部件左侧结构示意图;

[0023]图4为图1中碾压调节部件右侧结构示意图;

[0024]图5为图1中间距调节部件的结构示意图。

[0025]图中:1-框座、2-收纳筒、3-搅拌部件、31-N形固定板、32-电机一、33-转杆、34-搅拌板、35-固定板一、4-进料框一、5-碾压调节部件、51-固定框、52-间距调节部件、521-丝杆、522-N形推动板、523-N形滑动板、524-移动板、525-转动轴三、526-齿轮二、527-调节碾轮、53-转动轴一、54-皮带轮一、55-皮带轮二、56-转动轴二、57-齿轮一、58-转动板、59-转动套、510-拉动板、511-弹簧、512-进料框二、513-固定碾轮、514-电机二、6-进液管、7-排液管、8-电磁阀、9-卸料阀、10-卸料板、11-开关。

具体实施方式

[0026]下面将结合本实用新型实施例中的附图,对本实用新型实施例中的技术方案进行清楚、完整地描述,显然,所描述的实施例仅仅是本实用新型一部分实施例,而不是全部的实施例。基于本实用新型中的实施例,本领域普通技术人员在没有做出创造性劳动前提下所获得的所有其他实施例,都属于本实用新型保护的范围。

[0027]请参阅图1-图5,图1为本实用新型一种具体实施例中灰渣处理装置的正视结构示意图;图2为图1中搅拌部件的结构示意图;图3为图1中碾压调节部件左侧结构示意图;图4为图1中碾压调节部件右侧结构示意图;图5为图1中间距调节部件的结构示意图。

[0028]本实用新型提供了一种基于褐煤气化工艺的灰渣处理装置的技术方案:包括框座1,框座1上方与收纳筒2固定连接,收纳筒2内与搅拌部件3连接,收纳筒2通过开设的两个加料口分别与两个进料框一4固定连接,一侧进料框一4与碾压调节部件5连接,碾压调节部件5用于对进入的灰渣进行挤压粉碎,而且可以调节碾压间距,可以满足不同的灰渣处理需求。

[0029]收纳筒2上方设有进液管6,方便在使用时加入化学试剂。收纳筒2底部与框座1上开设的圆孔一互通,框座1底部设有排液管7,排液管7与收纳筒2相连通,排液管7上设有电磁阀8,排液管7内设有滤网。框座1底部还设有固定相接的卸料阀9与卸料板10,具体的,卸料阀9的出口端与卸料板10固定连接。

[0030]框座1上还设有开关11,卸料阀9和电磁阀8均与开关11电连接,由开关11来控制卸料阀9和电磁阀8。

[0031]其中,搅拌部件3可包括N形固定板31,N形固定板31固定连接在收纳筒2的上表面上,N形固定板31下方安装有电机一32,电机一32的输出轴连接有转杆33,转杆33的下端侧面固定连接有四块搅拌板34。通过设置的电机一32,使电机一32带动转杆33上的搅拌板34进行转动,从而使搅拌板34对灰渣和掺合料进行搅拌。另外,电机一32的输入端与开关11的输出端电连接,有开关11来控制。具体地,转杆33上端可通过轴承与收纳筒2的上侧转动连接,转杆33的下侧可通过轴承与收纳筒2的底部转动连接。

[0032]另外,碾压调节部件5可包括固定相接的固定框51和进料框二512,固定框51与一侧进料框一4固定连接,固定框51内转动连接有转动轴一53,转动轴一53由电机二514驱动,转动轴一53外设有固定碾轮513;转动轴一53还传动连接有转动轴三525,转动轴三525外设有调节碾轮527,调节碾轮527上还设有可调节固定碾轮513与调节碾轮527之间间距的间距调节部件52。其中电机二514固设于收纳筒2上方,电机二514与开关11电连接。

[0033]具体地,固定框51通过开设的两个滑动孔均与同一个间距调节部件52连接,固定框51与进料框二512固定连接,固定框51通过两个轴承均与同一根转动轴一53转动连接。转动轴一53与固定碾轮513固定连接,固定碾轮513位于固定框51内,转动轴一53的一侧与电机二514的输出轴固定连接,电机514安装在收纳筒2的上表面,电机二514的输入端与开关11的输出端电连接,通过设置的电机二514,使电机二514带动转动轴一53转动,转动轴一53再带动固定碾轮513同步转动。

[0034]间距调节部件52可包括丝杆521,丝杆521通过轴承与固定框51转动连接,丝杆521的前侧外端固定连接有转轮,通过设置的转轮,使转轮带动丝杆521转动,丝杆521上还螺纹连接N形推动板522,丝杆521带动N形推动板522上的N形滑动板523顺着滑动孔进行移动,N形滑动板523再带动移动板524上的转动轴三525连接的调节碾轮527移动进而与固定碾轮513之间的空隙扩大或缩小。固定碾轮513和调节碾轮527同步向之间的中心处转动,从而便于对灰渣进行挤压粉碎的作用。丝杆521与N形推动板522上开设的螺旋孔螺纹连接,N形推动板522的两侧板均与两块N形滑动板523固定连接,四块N形滑动板523两两一组且两组分别与两个滑动孔滑动连接。其中两N形滑动板523与移动板524固定相接,两移动板524均与转动轴三525转动连接。

[0035]转动轴一53和转动轴三525之间的传动连接可如下设置:

[0036]转动轴一53的一端外侧与皮带轮一54固定连接,皮带轮一54通过传动带与皮带轮二55传动连接,皮带轮二55固定连接在转动轴二56上,转动轴二56与齿轮一57固定连接,齿轮一57啮合连接有齿轮二526,转动轴三525与齿轮二526固定连接。

[0037]转动轴二56通过轴承与转动板58转动连接,转动板58与转动套59固定连接,转动套59通过轴承与转动轴一53转动连接,转动套59与拉动板510固定连接,拉动板510与弹簧511的后侧固定连接,弹簧511的前侧与固定框51固定连接。非使用状态下,弹簧511呈压缩状态。通过设置的弹簧511,使弹簧511可推动拉动板510带动转动套59上的转动板58同步进行转动,使转动板58带动转动轴二56上的齿轮一57随着转动轴三525上的齿轮二526紧贴着移动,从而使齿轮二526移动过程中齿轮一57也同步带动齿轮二526转动,齿轮二526则通过带动转动轴三525上的调节碾轮527转动。

[0038]本实用新型的工作原理如下:

[0039]先通过开关11将碾压调节部件5上的电机二514启动,从而使电机二514带动转动轴一53转动,转动轴一53再带动皮带轮一54和固定碾轮513同步转动,而皮带轮一54则通过传动带带动皮带轮二55上的转动轴二56转动,从而使转动轴二56带动齿轮一57啮合连接的齿轮二526转动,使齿轮二526带动转动轴三上525的调节碾轮527转动,然后固定碾轮513和调节碾轮527同步向之间的中心处转动,然后将需要处理的灰渣倒在加料框二512内,使灰渣经过进料框二512移动至固定碾轮513和调节碾轮527之间,然后经过转动挤压,从而对灰渣进行挤压粉碎的效果;

[0040]然后挤压过的灰渣掉到进料框一4内滚落至收纳筒2内,然后从另一个进料框一4加入制备水泥的其它掺合料与粉碎的灰渣进行混合,然后通过开关11开启电机一32转动,使电机一32带动转杆33上的搅拌板34进行转动,从而使搅拌板34对灰渣和掺合料进行搅拌均匀的作用;

[0041]其次通过转动转轮,使转轮带动丝杆521转动,使丝杆521带动N形推动板522上的N形滑动板523顺着滑动孔进行移动,N形滑动板523再带动移动板524上的转动轴三525连接的调节碾轮527移动与固定碾轮513之间的空隙扩大;

[0042]同时弹簧511推动拉动板510带动转动套59上的转动板58同步进行转动,使转动板58带动转动轴二56上的齿轮一57随着转动轴三525上的齿轮二526紧贴着移动,从而使齿轮二526移动过程中齿轮一57也同步带动齿轮二526转动,齿轮二526则通过带动转动轴三525上的调节碾轮527转动,如此可调节碾轮527转动对灰渣进行挤压粉碎,随着调节碾轮527与固定碾轮513之间的空隙扩大,从而使灰渣粉碎后的颗粒较大,从而应用于其它领域使用;

[0043]而通过进液管6的设置,可使收纳筒2内粉碎的灰渣需要提取重金属时,可通过进液管6加入化学试剂并进行搅拌反应,然后反应后的溶液通过排液管7排出,而滤渣则经过卸料阀9排出或者根据工艺需求再添加其它化学试剂进行搅拌反应。

[0044]在本实用新型的描述中,需要理解的是,指示的方位或位置关系为基于附图所示的方位或位置关系,仅是为了便于描述本实用新型和简化描述,而不是指示或暗示所指的装置或元件必须具有特定的方位、以特定的方位构造和操作,因此不能理解为对本实用新型的限制。

[0045]在本实用新型中,除非另有明确的规定和限定,例如,可以是固定连接,也可以是可拆卸连接,或成一体;可以是机械连接,也可以是电连接;可以是直接相连,也可以通过中间媒介间接相连,可以是两个元件内部的连通或两个元件的相互作用关系,除非另有明确的限定,对于本领域的普通技术人员而言,可以根据具体情况理解上述术语在本实用新型中的具体含义。

[0046]尽管已经示出和描述了本实用新型的实施例,对于本领域的普通技术人员而言,可以理解在不脱离本实用新型的原理和精神的情况下可以对这些实施例进行多种变化、修改、替换和变型,本实用新型的范围由所附权利要求及其等同物限定。

说明书附图(5)



0
0
0
0
0
         
标签:灰渣处理装置,固废处理
广州铭谦选矿设备有限公司宣传
广州铭谦选矿设备有限公司宣传
相关技术
评论(0条)
200/200
牛津仪器科技(上海)有限公司宣传
发布
技术

顶部
中冶有色网-互联网服务平台-关于我们
Copyright 2025 China-mcc.com All Rights Reserved
备案号:京ICP备11044340号-3
电信业务经营许可证编号:京B2-20242293
京公网安备 11010702002294号