高炉冶炼用氧气-煤粉混合优化装置
首页 企业 产品 技术 资讯 图库 视频 需求 会议 活动 产业
高炉冶炼用氧气-煤粉混合优化装置
来源:石家庄市宏森熔炼铸造有限公司
访问:250
简介: 本申请涉及一种高炉冶炼用氧气-煤粉混合优化装置,涉及高炉冶炼用混合装置领域。其包括混合壳,所述混合壳包括主壳和安装管,所述安装管设置在主壳的头部,且安装管与主壳固定连接,所述主壳的两侧对称安装有多管组,所述多管组与主壳密封固定连接,所述安装管上固定安装有定位座,所述定位座上固定安装混合组件,且混合组件伸入到主壳中,所述多管组的下端安装有进气架座。
权利要求

1.一种高炉冶炼用氧气-煤粉混合优化装置,包括混合壳(1),其特征在于:所述混合壳(1)包括主壳(11)和安装管(12),所述安装管(12)设置在主壳(11)的头部,且安装管(12)与主壳(11)固定连接,所述主壳(11)的两侧对称安装有多管组(2),所述多管组(2)与主壳(11)密封固定连接,所述安装管(12)上固定安装有定位座(3),所述定位座(3)上固定安装混合组件(4),且混合组件(4)伸入到主壳(11)中,所述多管组(2)的下端安装有进气架座(5),所述进气架座(5)与多管组(2)密封固定连接。

2.根据权利要求1所述的一种高炉冶炼用氧气-煤粉混合优化装置,其特征在于:所述主壳(11)包括壳体(111)和辅助插管(112),所述辅助插管(112)设置在壳体(111)远离安装管(12)的一端,且辅助插管(112)与安装管(12)一体成型。

3.根据权利要求2所述的一种高炉冶炼用氧气-煤粉混合优化装置,其特征在于:所述多管组(2)包括侧导管(21)和连接板(22),所述侧导管(21)一端均匀的安装在壳体(111)的外侧面上,所述连接板(22)固定安装在侧导管(21)的另一端,且连接板(22)上开设有与侧导管(21)相连通的通气槽(221)。

4.根据权利要求3所述的一种高炉冶炼用氧气-煤粉混合优化装置,其特征在于:所述定位座(3)包括顶盘(31)和套管(32),所述套管(32)同轴心设置在顶盘(31)的下端面,且套管(32)与顶盘(31)一体成型。

5.根据权利要求4所述的一种高炉冶炼用氧气-煤粉混合优化装置,其特征在于:所述混合组件(4)包括电机(41)、转杆(42)和混料叶轮(43),所述电机(41)固定安装在顶盘(31)的上端面,所述转杆(42)安装在电机(41)的输出端,且转杆(42)伸入到壳体(111)中,所述混料叶轮(43)套设固定在转杆(42)上。

6.根据权利要求5所述的一种高炉冶炼用氧气-煤粉混合优化装置,其特征在于:所述混料叶轮(43)包括轮套(431)、支杆(432)和叶片(433),所述支杆(432)固定安装在轮套(431)之间,所述叶片(433)沿圆周方向均匀地安装在轮套(431)的外侧面上,且叶片(433)与轮套(431)固定连接。

7.根据权利要求6所述的一种高炉冶炼用氧气-煤粉混合优化装置,其特征在于:所述进气架座(5)包括第一分流组(51)、第二分流组(52)以及与连接板(22)相对应的分流座(53),所述第二分流组(52)固定安装在第一分流组(51)的上端面,且第一分流组(51)和第二分流组(52)均与分流座(53)相连通。

8.根据权利要求7所述的一种高炉冶炼用氧气-煤粉混合优化装置,其特征在于:所述第一分流组(51)和第二分流组(52)均包括进料管(511)、第一排放管(512)、第二排放管(513)和第三排放管(514),所述分流座(53)上开设有若干与通气槽(221)相对应的导气槽(531)。

说明书

技术领域

[0001]本申请涉及高炉冶炼用混合装置的技术领域,尤其是涉及一种高炉冶炼用氧气-煤粉混合优化装置。

背景技术

[0002]在高炉冶炼过程中,氧气-煤粉喷吹技术是提高高炉生产效率和降低焦比的重要手段,通过向高炉内喷吹氧气和煤粉混合物,可以显著增强炉内燃烧反应,提高炉温,加速还原过程,从而实现高炉冶炼的高效化和低成本化。

[0003]现有公告号为CN201250239Y的中国专利,公开了一种高炉喷煤枪,具体地说是一种用于高炉风口煤粉喷吹的喷枪。高炉喷煤枪,包括相互套接的内管和外管,内管中心为煤粉通道,内管与外管围成压缩空气通道,在压缩空气通道的空气喷吹口处固定有旋流装置。该高炉喷煤枪提高了煤粉与鼓风、压缩空气混合效果,增大了压缩空气冷却效果,结构简单,使用寿命长,利于推广应用。

[0004]针对上述中的相关技术,发现现有高炉冶炼用氧气-煤粉混合大多直接采用喷煤枪进行,该设备在使用时直接在煤粉管侧面开设一个侧管作为压缩空气入口,该方式在使用过程中容易出现煤粉与空气混合不够均匀的情况,影响高炉内部的燃烧反应。

实用新型内容

[0005]为了实现增加煤粉与空气混合程度的目标,本申请提供一种高炉冶炼用氧气-煤粉混合优化装置。

[0006]本申请提供的一种高炉冶炼用氧气-煤粉混合优化装置采用如下的技术方案:

[0007]一种高炉冶炼用氧气-煤粉混合优化装置,包括混合壳,所述混合壳包括主壳和安装管,所述安装管设置在主壳的头部,且安装管与主壳固定连接,所述主壳的两侧对称安装有多管组,所述多管组与主壳密封固定连接,所述安装管上固定安装有定位座,所述定位座上固定安装混合组件,且混合组件伸入主壳中,所述多管组的下端安装有进气架座,所述进气架座与多管组密封固定连接。

[0008]通过采用上述技术方案,通过将混合壳设计成主壳和安装管相配合的结构,易于使用时可以通过主壳作为氧气和煤粉混合场所,并且在主壳上设置安装管来保证通过安装管来配合安装定位座,然后就可以通过定位座来进行安装混合组件,定位座通过螺栓与安装管相连接,这样不仅方便稳定的快速安装,而且需要维修的时候可以通过定位座来直接将混合组件从主壳中取出,操作起来非常方便,同时通过主壳的两侧对称安装多管组,这样方便使用的时候可以通过多管组来作为空气和煤粉进料结构,通过在多管组的下端安装进气架座来配合多管组进行导气作业。

[0009]可选的,所述主壳包括壳体和辅助插管,所述辅助插管设置在壳体远离安装管的一端,且辅助插管与安装管一体成形。

[0010]通过采用上述技术方案,通过将主壳设计成壳体和辅助插管相配合的结构,易于使用的时候壳体可以通过辅助插管来插入到高炉中进行供应煤粉使用。

[0011]可选的,所述多管组包括侧导管和连接板,所述侧导管一端均匀的安装在壳体的外侧面上,所述连接板固定安装在侧导管的另一端,且连接板上开设有与侧导管相连通的通气槽。

[0012]通过采用上述技术方案,通过将多管组设计成侧导管和连接板相配合的结构,易于使用的时候可以通过侧导管来均匀的安装在壳体的外侧面上,方便通过不同的侧导管来给壳体内部进行供气或者供应煤粉,而通过连接板的设置来保证将若干侧导管相互连接固定,并且方便通过连接板来与进气架座配合连接,保证通过连接板上的通气槽来与侧导管相连通。

[0013]可选的,所述定位座包括顶盘和套管,所述套管同轴心设置在顶盘的下端面,且套管与顶盘一体成形。

[0014]通过采用上述技术方案,通过将定位座设计成顶盘和套管相配合的结构,易于使用的时候顶盘可以通过套管来套设安装在安装管上进行连接,保证顶盘可以稳定地安装混合组件来使用。

[0015]可选的,所述混合组件包括电机、转杆和混料叶轮,所述电机固定安装在顶盘的上端面,所述转杆安装在电机的输出端,且转杆伸入到壳体中,所述混料叶轮套设固定在转杆上。

[0016]通过采用上述技术方案,通过将混合组件设计成电机、转杆和混料叶轮相配合的结构,易于使用的时候可以通过电机来带动转杆和混料叶轮转动作业,进而通过混料叶轮实现对壳体中的空气和煤粉进行混合作业。

[0017]可选的,所述混料叶轮包括轮套、支杆和叶片,所述支杆固定安装在轮套之间,所述叶片沿圆周方向均匀地安装在轮套的外侧面上,且叶片与轮套固定连接。

[0018]通过采用上述技术方案,通过将混料叶轮设计成轮套、支杆和叶片相配合的结构,易于使用的时候可以通过轮套来套设在转杆上进行固定,并且通过支杆的设置来保证轮套之间可以相互支撑,保证混料叶使用过程中整体更加稳定,这样当转杆转动的时候就可以带动轮套上的叶片进行混合作业。

[0019]可选的,所述进气架座包括第一分流组、第二分流组以及与连接板相对应的分流座,所述第二分流组固定安装在第一分流组的上端面,且第一分流组和第二分流组均与分流座相连通。

[0020]通过采用上述技术方案,通过将进气架座设计成第一分流组、第二分流组和分流座相配合的结构,方便使用时可以通过第一分流组和第二分流组分别给两端的分流座进行交叉供气和供粉使用。

[0021]可选的,所述第一分流组和第二分流组均包括进料管、第一排放管、第二排放管和第三排放管,所述分流座上开设有若干与通气槽相对应的导气槽。

[0022]通过采用上述技术方案,通过将第一分流组和第二分流组设计成进料管、第一排放管、第二排放管和第三排放管相配合的结构,易于使用的时候可以通过进料管来与外部供气和供粉设备相连接,保证空气或者煤粉从进料管进入以后就可以通过第一排放管、第二排放管和第三排放管进行分流,然后从导气槽稳定地进入到通气槽中。

[0023]综上所述,本申请包括以下至少一种有益技术效果:本申请通过将混合壳设计成主壳和安装管相配合的结构,通过在主壳的两侧安装多管组,来保证使用的时候可以通过多管组来实现分流进粉和进气的目的,同时通过在安装管上固定安装定位座,通过定位座来固定安装混合组件,方便使用的时候可以通过混合组件实时地对进入壳体中的其他和煤粉进行混合,并且通过在多管组的下端安装进气架座,保证煤粉和空气进入的时候可以实现间隔分布进入壳体,保证空气和煤粉更好地相互混合,具有进料方便和混合均匀的优点。

附图说明

[0024]图1是本申请实施例中的整体结构的分解结构示意图。

[0025]图2是本申请实施例中的混合壳和多管组相配合的立体图。

[0026]图3是图2所示装置的仰视图。

[0027]图4是本申请实施例中的定位座和混合组件相配合的立体图。

[0028]图5是本申请实施例中的进气架座的立体图。

[0029]图6是图5所示装置的俯视图。

[0030]附图标记说明:1、混合壳;11、主壳;111、壳体;112、辅助插管;12、安装管;2、多管组;21、侧导管;22、连接板;221、通气槽;3、定位座;31、顶盘;32、套管;4、混合组件;41、电机;42、转杆;43、混料叶轮;431、轮套;432、支杆;433、叶片;5、进气架座;51、第一分流组;511、进料管;512、第一排放管;513、第二排放管;514、第三排放管;52、第二分流组;53、分流座;531、导气槽。

具体实施方式

[0031]以下结合附图对本申请作进一步详细说明。

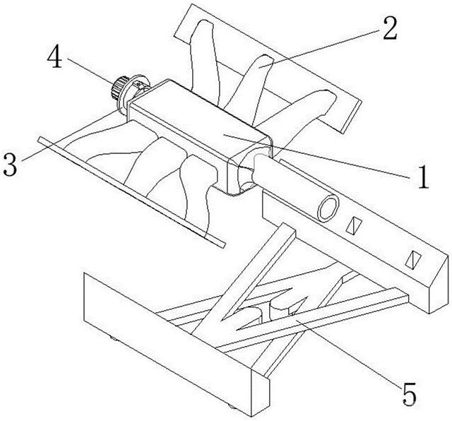
[0032]本申请实施例公开一种高炉冶炼用氧气-煤粉混合优化装置。参照图1、图2和图3所示,一种高炉冶炼用氧气-煤粉混合优化装置,包括混合壳1,混合壳1包括主壳11和安装管12,安装管12设置在主壳11的头部,且安装管12与主壳11固定连接,主壳11的两侧对称安装有多管组2,多管组2与主壳11密封固定连接,安装管12上固定安装有定位座3,定位座3上固定安装混合组件4,且混合组件4伸入到主壳11中,多管组2的下端安装有进气架座5,进气架座5与多管组2密封固定连接。通过将混合壳1设计成主壳11和安装管12相配合的结构,易于使用时可以通过主壳11作为氧气和煤粉混合场所,并且在主壳11上设置安装管12来保证通过安装管12来配合安装定位座3,然后就可以通过定位座3来进行安装混合组件4,定位座3通过螺栓与安装管12相连接,这样不仅方便稳定地快速安装,而且需要维修的时候可以通过定位座3来直接将混合组件4从主壳11中取出,操作起来非常方便,同时通过主壳11的两侧对称安装多管组2,这样方便使用的时候可以通过多管组2来作为空气和煤粉进料结构,通过在多管组2的下端安装进气架座5来配合多管组2进行导气作业。主壳11包括壳体111和辅助插管112,辅助插管112设置在壳体111远离安装管12的一端,且辅助插管112与安装管12一体成型。通过将主壳11设计成壳体111和辅助插管112相配合的结构,易于使用的时候壳体111可以通过辅助插管112来插入到高炉中进行供应煤粉使用。

[0033]参照图3所示,多管组2包括侧导管21和连接板22,侧导管21一端均匀地安装在壳体111的外侧面上,连接板22固定安装在侧导管21的另一端,且连接板22上开设有与侧导管21相连通的通气槽221。通过将多管组2设计成侧导管21和连接板22相配合的结构,易于使用的时候可以通过侧导管21来均匀的安装在壳体111的外侧面上,方便通过不同的侧导管21来给壳体111内部进行供气或者供应煤粉,而通过连接板22的设置来保证将若干侧导管21相互连接固定,并且方便通过连接板22来与进气架座5配合连接,保证通过连接板22上的通气槽221来与侧导管21相连通。

[0034]参照图4所示,定位座3包括顶盘31和套管32,套管32同轴心设置在顶盘31的下端面,且套管32与顶盘31一体成形。通过将定位座3设计成顶盘31和套管32相配合的结构,易于使用的时候顶盘31可以通过套管32来套设安装在安装管12上进行连接,保证顶盘31可以稳定地安装混合组件4来使用。

[0035]参照图4所示,混合组件4包括电机41、转杆42和混料叶轮43,电机41固定安装在顶盘31的上端面,转杆42安装在电机41的输出端,且转杆42伸入到壳体111中,混料叶轮43套设固定在转杆42上。通过将混合组件4设计成电机41、转杆42和混料叶轮43相配合的结构,易于使用的时候可以通过电机41来带动转杆42和混料叶轮43转动作业,进而通过混料叶轮43实现对壳体111中的空气和煤粉进行混合作业。混料叶轮43包括轮套431、支杆432和叶片433,支杆432固定安装在轮套431之间,叶片433沿圆周方向均匀地安装在轮套431的外侧面上,且叶片433与轮套431固定连接。通过将混料叶轮43设计成轮套431、支杆432和叶片433相配合的结构,易于使用的时候可以通过轮套431来套设在转杆42上进行固定,并且通过支杆432的设置来保证轮套431之间可以相互支撑,保证混料叶使用过程中整体更加稳定,这样当转杆42转动的时候就可以带动轮套431上的叶片433进行混合作业。

[0036]参照图5和图6所示,进气架座5包括第一分流组51、第二分流组52以及与连接板22相对应的分流座53,第二分流组52固定安装在第一分流组51的上端面,且第一分流组51和第二分流组52均与分流座53相连通。通过将进气架座5设计成第一分流组51、第二分流组52和分流座53相配合的结构,方便使用时可以通过第一分流组51和第二分流组52分别给两端的分流座53进行交叉供气和供粉使用。第一分流组51和第二分流组52均包括进料管511、第一排放管512、第二排放管513和第三排放管514,分流座53上开设有若干与通气槽221相对应的导气槽531。通过将第一分流组51和第二分流组52设计成进料管511、第一排放管512、第二排放管513和第三排放管514相配合的结构,易于使用的时候可以通过进料管511来与外部供气和供粉设备相连接,保证空气或者煤粉从进料管511进入以后就可以通过第一排放管512、第二排放管513和第三排放管514进行分流,然后从导气槽531稳定地进入到通气槽221中。

[0037]本申请实施例一种高炉冶炼用氧气-煤粉混合优化装置的实施原理为:在使用的时候通过第一分流组51和第二分流组52上的进料管511分别与外部的供气和供煤粉装置相连接,空气从第一分流组51的进料管511进入后通过第一排放管512、第二排放管513和第三排放管514分别供给到分流座53的导气槽531中,而煤粉从第二分流组52的进料管511进入后通过第一排放管512、第二排放管513和第三排放管514分别供给到分流座53的其他导气槽531中,最后通过多管组2进入到混合壳1中,而煤粉和空气相互间隔进入到壳体111中以后可以通过混合组件4来混合搅拌后快速从辅助插管112排放到高炉中进行供粉使用。

[0038]以上均为本申请的较佳实施例,并非依此限制本申请的保护范围,故:凡依本申请的结构、形状、原理所做的等效变化,均应涵盖于本申请的保护范围之内。

说明书附图(6)

0
0
0
0
0
         
标签:高炉冶炼,冶炼混合装置
广州铭谦选矿设备有限公司宣传
广州铭谦选矿设备有限公司宣传
相关技术
评论(0条)
200/200
牛津仪器科技(上海)有限公司宣传
发布
技术

顶部
中冶有色网-互联网服务平台-关于我们
Copyright 2025 China-mcc.com All Rights Reserved
备案号:京ICP备11044340号-3
电信业务经营许可证编号:京B2-20242293
京公网安备 11010702002294号